Spare parts Iwaki MD-30RZV(M)
=> Note: The product image is for illustration purposes only. Please use the description for identification.
Buy Profluid Shop online at low prices – for larger orders or volume discounts, please contact us for a customized quote. This offer is exclusively for commercial customers.
Iwaki spare parts MD-30RZV(M)
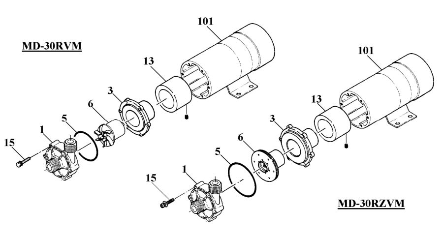
| Item | Description | Q'ty | Remark | Part No. |
| 1 | Front Casing "M" Unit | 1 | CFRPVDF+PTFE | MD0720 |
| 3 | Rear Casing Unit | 1 | CFRPVDF+PTFE | MD0603 |
| 5 | O-ring 81x1,78 O-ring 81x1,78 | 1 1 | FKM EPDM | MD0003 MD0004 |
| 6 | Impeller Unit | 1 | CFRPVDF+magnet+ Alumina Ceramic | MD0739 |
| 13 | Drive Magnet Unit | 1 | Aluminium+Magnet | MD0785 |
| 15 | Screw+SW+PW. <M4x32> | 6 | SUS304 equiv. | MD0043 |
| 101 | Motor '220N' 45W [AC220/240V] | 1 | 45 W | MD0406 |
| *1 | Front Casing Unit | 1 | CFRPVDF+PTFE | *MD0718 |